Product Series
推薦產品
河南華東起重機械設備公司
服務熱線:400 086 9590
公司:河南華東起重機械設備有限公司
聯系人:賈經理
聯系電話:13903802779
地址:河南新鄉市封丘縣起重機工業園區
當前位置: 起重機 > 起重機文章
G100鏈條G100級鏈條G100起重鏈條G100起重大鏈
時間:2024-01-18來源:起重機廠家瀏覽次數:1
G100起重鏈條介紹
G100鏈條是EN818-2標準起重鏈條,多用于港口運輸、工廠起吊、橋梁建設、建筑工廠等場所,起重領域可用于手拉葫蘆、手扳葫蘆、環鏈電動葫蘆和起重鏈條吊具配套使用,該鏈條在2.5倍工作拉力下進行測試,破斷拉力是工作拉力的四倍,性能比G80級鏈條提升25%。表面處理:拋光、發黑、刷漆、電鍍鋅、熱鍍鋅、噴塑、電泳等。
G100起重鏈條說明
-
產品名稱:G100鏈條
-
別名別稱:起重大鏈
-
所屬類別:鏈條
-
產品產地:河南新鄉/河北保定等
-
非標定制:可定制
-
是否現貨:部分現貨
-
生產周期:10~30天
-
供貨范圍:全國
-
送達方式:自提或物流托運
-
發貨地區:河南長垣
G100起重鏈條圖冊
G100鏈條G100級鏈條G100起重鏈條
g100噴塑鏈條 漁網鏈條 噴塑鏈條 護欄鏈條
G100起重鏈條參數
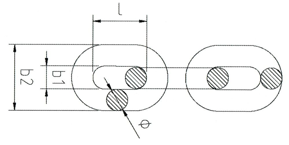
G100鏈條外形尺寸與技術參數表
G100鏈條外形尺寸圖
|
||||||
| 鏈條規格 |
額定載荷 (T) |
破斷拉力 (T) |
?/mm | 1/mm | b1/mm | b2/mm |
| 6mm | 1.4 | 5.6 | 6±0.24 | 18±0.5 | 8.7 | 21.6 |
| 7mm | 1.9 | 7.6 | 7±0.28 | 21±0.6 | 9.5 | 25.2 |
| 8mm | 2.5 | 10 | 8±0.32 | 24±0.7 | 10.9 | 28.8 |
| 10mm | 4 | 16 | 10±0.4 | 30±0.9 | 13.5 | 36 |
| 13mm | 6.7 | 26.8 | 13±0.52 | 39±1.2 | 17.5 | 46.8 |
| 16mm | 10 | 40 | 16±0.64 | 48±1.4 | 21.5 | 57.6 |
| 19mm | 14 | 56 | 18±0.9 | 57±1.6 | 25.6 | 68.4 |
| 22mm | 19 | 76 | 22±1.1 | 66±2 | 29.5 | 79.2 |
| 26mm | 26.5 | 106 | 26±1.3 | 78±2.3 | 33.8 | 96.2 |
| 32mm | 39.3 | 157.2 | 32±1.6 | 96±2.9 | 41.6 | 118 |
G100起重鏈條廠家
G100起重鏈條貨源產地生產廠家還為用戶提供G80鏈條、普通鏈條、葫蘆鏈條、不銹鋼鏈條、礦用鏈條和鏈條組合吊具生產定制,更多鏈條的型號規格、長度、外形尺寸、產品材質特性、載重量、破斷拉力和廠家品牌、批發價格等請聯系客服咨詢。




















